8月30日停复牌汇总

2018-08-30 09:16:07 来源:中国证券网 作者:

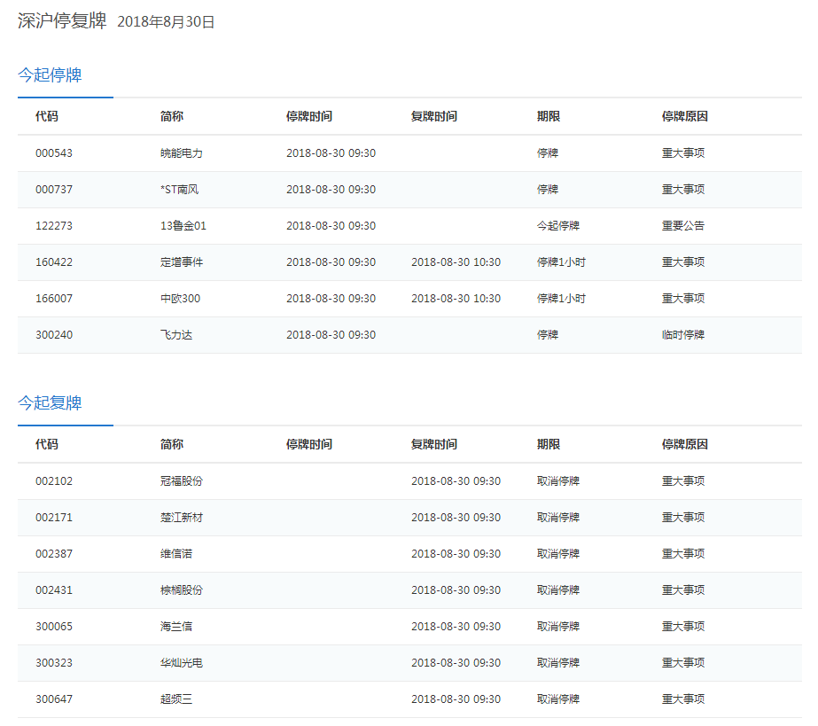
  上证报讯 8月30日,海伦哲、飞力达因披露重大事项,航民股份重组上会,今日临停。

  冠福股份等多公司今起复牌。